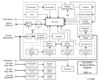
L’instrument SOLSPEC est composé de 3 spectromètres couvrant le domaine 165 à 3100 nm. Chaque spectromètre est composé d’un double monochromateur formé de réseaux concaves, afin de réduire le taux de lumière parasite. Les 6 réseaux sont montés sur un vilebrequin unique, dont la rotation est gérée par un moteur pas à pas.

